Dans la vidéo du jour, je vous parle de l’électronique et du traitement du signal qui se cachent derrière le fonctionnement d’un synthétiseur. Et en complément, Scherzando nous raconte l’histoire de leur influence musicale !
Un petit complément concernant l’électronique et le fonctionnement du thérémine et des oscillateurs en général.
Déjà en pratique, on n’utilisera probablement pas un filtre LC, ne serait-ce que parce qu’il y a toujours une résistance résiduelle qui traîne. Par ailleurs si vous prenez des valeurs typiques pour L et C, vous verez que ça nous donne une fréquence pas du tout dans le domaine de l’audible mais plutôt de l’ordre de la centaine de MHz. Il s’agit de fréquences qui, dans le spectre électromagnétique, correspondent aux ondes radios. (et d’ailleurs aussi bien Termen que Martenot manipulaient de l’électronique radio avant d’inventer leurs instruments.)
Pour produire un son audible à partir d’un oscillateur de ce genre, l’astuce consiste à utiliser 2 oscillateurs légèrements décalés en fréquence f1 et f2. A cause du phénomène de battement, cela donne naissance à deux oscillations aux fréquences f1+f2 et f1-f2. C’est la différence qui va nous intéresser, puisque si les oscillateurs sont proches, la différence sera une oscillation de plus basse fréquence.
Et c’est ce qui permet par ailleurs d’avoir le phénomène de variation de fréquence dans le cas du thérémine. On utilise un oscillateur fixe, et un autre dont le condensateur subit des variations de capacité provoquées par la présence de la main. Et en choisissant bien les fréquences, la fréquence de battement f1-f2 couvrira la gamme qui nous intéresse entre 20 et 20000 Hz.
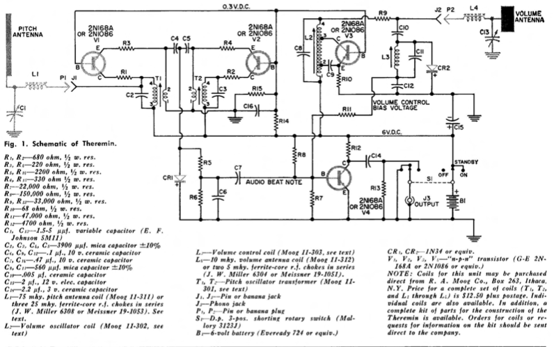
Par ailleurs j’ai donné une image très simpliste du montage d’un oscillateur à partir d’une boucle de rétroaction. Les vrais montages sont plus compliqués, et n’utilisent d’ailleurs généralement pas un unique amplificateur opérationnel. D’ailleurs un morceau d’histoire intéressant est à trouver dans le numéro de Janvier 1961 de la revue « Electronics World », dans laquelle un certain Robert Moog publie un montage pour réaliser un thérémine à partir de transistors.


7 Comments
Hello,
Je ne trouve pas les coordonnées de l’émulateur de synthé que vous utilisez.
Help !
C’est VCV Rack
https://vcvrack.com
Bonjour et merci pour cet épisode fascinant! En venant ici depuis Youtube, je pensais que le billet de blog serait plus ou moins le script de la vidéo, j’avais le secret espoir d’y retrouver rapidement les œuvres musicales citées. Bon, finalement non… Est-ce que vous auriez le moyen de les redonner sans vous faire perdre de temps?
Autre chose, l’évocation de la technologie du DX7 privée de détails, c’est du teasing pour l’épisode suivant?
Merci d’avoir invité Scherzando, et surtout merci pour la découverte d’Eliane Radigue et de sa musique !
Une superbe coopération avec Scherzando, et une vidéo passionnante !
Merci pour cet article et cette vidéo passionnants! Je connaissais vaguement le thérémine, mais j’étais bien loin de connaître son histoire et son fonctionnement! Je découvre aussi son rôle dans l’histoire de la musique!
Eliane Radigue est également passionnante! Merci pour ce bon moment de culture scientifique!
Pingback: Utiliser VMPK et Cardinal avec PIpeWire, Jack et la baie de brassage Helvum | Popolon gblog3